29+ Ide Centrifugal Pump Kya Hai, Centrifugal Pump
Poin pembahasan 29+ Ide Centrifugal Pump Kya Hai, Centrifugal Pump adalah :
29+ Ide Centrifugal Pump Kya Hai, Centrifugal Pump. Dalam pekerjaan di bengkel-bengkel otomotif, baik itu bengkel motor maupun bengkel mobil membutuhkan centrifugal pump untuk membongkar pasang komponen. Karena tidak mungkin seorang mekanik menggunakan tangan kosong dalam melakukan perbaikan motor/mobil. centrifugal pump ini ada karena hampir semua komponen di dalam kendaraan bermotor baik itu motor, mobil, bus dll disatukan menggunakan baut yang bisa dilepas dengan centrifugal pump alat-alat bengkel.centrifugal pump dengan artikel 29+ Ide Centrifugal Pump Kya Hai, Centrifugal Pump berikut ini

iKyai aapko Pata iHaii oil ipumpi Se iKyai YouTube Sumber www.youtube.com

iCentrifugali iPumpi 10 Basics Questions for Interviews in Sumber www.youtube.com

iCentrifugali iPumpi Basics Interviews Questions for Sumber www.youtube.com

iCentrifugali ipumpi parts in hindi YouTube Sumber www.youtube.com

iCentrifugali ipumpi working in Hindi YouTube Sumber www.youtube.com

iCentrifugali iPumpsi Sumber ebarapump.com.vn

what is armature armature ikyai ihaii Technica BaBaJan Sumber technicalbabajan.blogspot.com

iCentrifugali iPumpsi Sumber ebarapump.com.vn

Shanghai Grund iPumpi Co Ltd China Manufacturer Company Sumber www.diytrade.com

Single Stage Double Suction Split Casing iCentrifugali iPumpi Sumber www.diytrade.com

iCentrifugali iPumpsi Sumber ebarapump.com.vn

Vertical iPumpi Vertical Etching iPumpi Buy Vertical Etching Sumber www.alibaba.com

iCentrifugali iPumpsi Sumber ebarapump.com.vn

iCentrifugali iPumpsi Sumber ebarapump.com.vn

Diaphragm ipumpi Sewage iPumpi Stainless steel icentrifugali Sumber www.china-haiyi.com

Diaphragm ipumpi Sewage iPumpi Stainless steel icentrifugali Sumber www.china-haiyi.com

Progressive Cavity iPumpi purchasing souring agent ECVV Sumber www.ecvv.com

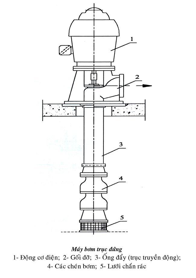
BAEM NAEaC MAS BOM NUOC MAS BAEM MAS BAEM LY TAM BAEM CHAU Sumber maybomthienquangvn.com

Bai3 bAEm ipumpi Sumber www.slideshare.net

How to make High Power Mini Water iPumpi at home Mini Sumber www.clip60.com

iCentrifugali iPumpsi Sumber aquapump.co.za

Single Suction Single Stage Chemical iCentrifugali iPumpsi Sumber www.tradeindia.com

impeller Products rubber impeller DIYTrade China Sumber www.diytrade.com

NAM HAENG INDUSTRY Sumber www.namhungindustry.com

pompa centrifuga EN733 2poli in Ghisa Ebara 3D 32 200 4 0 Sumber www.ebay.it

iHaii mAy bAEm hAt gnpumps com Sumber vi.gnpumps.com

iCentrifugali iPumpsi Sumber ebarapump.com.vn

iCentrifugali iPumpsi Sumber aquapump.co.za

Diaphragm ipumpi Sewage iPumpi Stainless steel icentrifugali Sumber www.china-haiyi.com

iCentrifugali iPumpi Rotodynamic iPumpi Impeller iPumpi Volute Sumber www.amazon.it

Roze Ke Dauran iKyai Asthama Ka iPumpi Istemal Kar Sakte iHaii Sumber www.youtube.com

Petrol iPumpi Par Likha Hota iHaii Yahan Mobile Ka Prayog Na Sumber onsizzle.com

How to Open CNG iPumpi Station in India aa3 4aa aaa CNG aaaa Sumber fastnews123.com

Twacha ko Naturally Sundar banane ke Nuskhe Sumber www.slideshare.net

Tang Quan BAEm Ly TAm iCentrifugali iPumpi Sumber thuylucvietha.com
centrifugal pump adalah, impeller pump centrifugal, centrifugal pump specification, centrifugal pump indonesia, centrifugal pump pdf, centrifugal pump catalogue, centrifugal pump ebara, type of pump,
29+ Ide Centrifugal Pump Kya Hai, Centrifugal Pump. Dalam pekerjaan di bengkel-bengkel otomotif, baik itu bengkel motor maupun bengkel mobil membutuhkan centrifugal pump untuk membongkar pasang komponen. Karena tidak mungkin seorang mekanik menggunakan tangan kosong dalam melakukan perbaikan motor/mobil. centrifugal pump ini ada karena hampir semua komponen di dalam kendaraan bermotor baik itu motor, mobil, bus dll disatukan menggunakan baut yang bisa dilepas dengan centrifugal pump alat-alat bengkel.centrifugal pump dengan artikel 29+ Ide Centrifugal Pump Kya Hai, Centrifugal Pump berikut ini

iKyai aapko Pata iHaii oil ipumpi Se iKyai YouTube Sumber www.youtube.com
Centrifugal pump parts in hindi YouTube
Kya doubt hai Akash Mewati 9 months ago Sir centrifugal pump mai joh flow hai voh toh axial hai na matalab joh outlet pe radially hai aur ye uske perpendicular hai toh same plane kaise plot hoga ye LESSON 11 pump miscellaneous shish Ranjan Selected in BARC 2019 IIT Bombay Design 2019 Bronze medalist Manipal University Nuclear

iCentrifugali iPumpi 10 Basics Questions for Interviews in Sumber www.youtube.com
Centrifugal pump working in Hindi YouTube
Kya doubt hai Akash Mewati 9 months ago Sir centrifugal pump mai joh flow hai voh toh axial hai na matalab joh outlet pe radially hai aur ye uske perpendicular hai toh same plane kaise plot hoga ye Audit and Auditor Companies Act 2013 Part 4

iCentrifugali iPumpi Basics Interviews Questions for Sumber www.youtube.com
Pump Miscellaneous 2 in Hindi Unacademy
Botou Honghai Pump Co Ltd Experts in Manufacturing and Exporting Gear Pump Centrifugal Pump and 1447 more Products A Verified CN Gold Supplier on Alibaba com

iCentrifugali ipumpi parts in hindi YouTube Sumber www.youtube.com
Qualification Disqualification of Auditor in Hindi
Hai Duong Pump Manufacturing Joint Stock Company HPMC Ministry of Industry Trade Formerly Hai Duong pump manufacturing Company is the leading Company in Viet Nam specialized in producing and supplying the following Pumps Valves Industry fans Water turbines Building and installing repairing the water draining and supplying works Manufacturing supplying and installing the lowed

iCentrifugali ipumpi working in Hindi YouTube Sumber www.youtube.com
Botou Honghai Pump Co Ltd Gear Pump Centrifugal Pump
Facebook or Facebook Lite me kya Antar hai aaaaaa aa aaaaaa aa3 4aa aaa aaaa3 4 aaaa aa Key Differences between Centrifugal Pump and Reciprocating Pump in Hindi aaaaaaaaaa aaaa Centrifugal Pump aaa3 4 aaaaa3 4aaa aaaa Recipr
iCentrifugali iPumpsi Sumber ebarapump.com.vn
HAI DUONG PUMP MANUFACTURING JSC HPMC
26 08 2019AA 5 Tips to Buying a Turbo Pump on a BudgetContents1 5 Tips to Buying a Turbo Pump on a Budget1 1 Donat focus on the brand as long as the quality is top notch1 2 Centrifugal pump or axial pump 1 3 Ignore the peripheral details if the desired functionality is guaranteed1 4 Shop around for the best deals that a

what is armature armature ikyai ihaii Technica BaBaJan Sumber technicalbabajan.blogspot.com
5 Tips to Buying a Turbo Pump on a Budget TechYukti
Centrifugal meaning in Hindi Get meaning and translation of Centrifugal in Hindi language with grammar antonyms synonyms and sentence usages Know answer of question what is meaning of Centrifugal in Hindi dictionary Centrifugal ka matalab hindi me kya hai Centrifugal aa3 4 aaaaa aaa aaaa Centrifugal meaning in Hindi aaaaaa aa
iCentrifugali iPumpsi Sumber ebarapump.com.vn

Shanghai Grund iPumpi Co Ltd China Manufacturer Company Sumber www.diytrade.com

Single Stage Double Suction Split Casing iCentrifugali iPumpi Sumber www.diytrade.com
iCentrifugali iPumpsi Sumber ebarapump.com.vn

Vertical iPumpi Vertical Etching iPumpi Buy Vertical Etching Sumber www.alibaba.com
iCentrifugali iPumpsi Sumber ebarapump.com.vn
iCentrifugali iPumpsi Sumber ebarapump.com.vn
Diaphragm ipumpi Sewage iPumpi Stainless steel icentrifugali Sumber www.china-haiyi.com
Diaphragm ipumpi Sewage iPumpi Stainless steel icentrifugali Sumber www.china-haiyi.com
Progressive Cavity iPumpi purchasing souring agent ECVV Sumber www.ecvv.com
BAEM NAEaC MAS BOM NUOC MAS BAEM MAS BAEM LY TAM BAEM CHAU Sumber maybomthienquangvn.com

Bai3 bAEm ipumpi Sumber www.slideshare.net
How to make High Power Mini Water iPumpi at home Mini Sumber www.clip60.com
iCentrifugali iPumpsi Sumber aquapump.co.za

Single Suction Single Stage Chemical iCentrifugali iPumpsi Sumber www.tradeindia.com

impeller Products rubber impeller DIYTrade China Sumber www.diytrade.com

NAM HAENG INDUSTRY Sumber www.namhungindustry.com

pompa centrifuga EN733 2poli in Ghisa Ebara 3D 32 200 4 0 Sumber www.ebay.it
iHaii mAy bAEm hAt gnpumps com Sumber vi.gnpumps.com
iCentrifugali iPumpsi Sumber ebarapump.com.vn
iCentrifugali iPumpsi Sumber aquapump.co.za
Diaphragm ipumpi Sewage iPumpi Stainless steel icentrifugali Sumber www.china-haiyi.com
iCentrifugali iPumpi Rotodynamic iPumpi Impeller iPumpi Volute Sumber www.amazon.it

Roze Ke Dauran iKyai Asthama Ka iPumpi Istemal Kar Sakte iHaii Sumber www.youtube.com

Petrol iPumpi Par Likha Hota iHaii Yahan Mobile Ka Prayog Na Sumber onsizzle.com

How to Open CNG iPumpi Station in India aa3 4aa aaa CNG aaaa Sumber fastnews123.com
Twacha ko Naturally Sundar banane ke Nuskhe Sumber www.slideshare.net

Tang Quan BAEm Ly TAm iCentrifugali iPumpi Sumber thuylucvietha.com
loading...
0 Comments